Ausgangspositionsschalter
Haydon bietet einen Miniatur-Elektronikschalter an, der die Ausgangsposition von Can-Stack- und linearen Hybrid-Aktuatoren überwachen kann. Der Ausgangspositionsschalter wird an der hinteren Buchse der Captive Linearmotoren von Haydon montiert. Dadurch kann der Benutzer Start-, Stopp- oder Ruhepositionen des Aktuators identifizieren. Je nach Vorliebe können die Kontakte normalerweise geöffnet oder normalerweise geschlossen sein. Das Schließen der Kontakte ist innerhalb einer Schrittposition wiederholbar und ermöglicht so kleine lineare Bewegungen wie 0,0013 cm pro Schritt. Es sind auch Mehrfachkontaktschalter verfügbar. Der Schalter ermöglicht Geräteherstellern die Möglichkeit, Bewegungen genauer zu überwachen, um eine bessere Steuerung und eine verbesserte Qualitätsüberwachung um erzielen. Bei Bestellung von Motoren mit Ausgangspositionsschalter muss der Teilenummer ein „S“ vorangestellt werden. Wenden Sie sich bitte an Haydon Kerk Motion Solutions für zusätzliche Bestellinformationen.
Da eine Betätigungskraft von 283 g erforderlich ist, ist der Schalter möglicherweise nicht für kleinere Can-Stack-Aktuatoren geeignet.
Technische Daten:
| Kontaktbelastbarkeit (Standard): |
1,00 A bei 120 VAC |
| 1,00 A bei 28 VDC |
| Betriebstemperatur: |
-30 °C bis +55 °C |
| Kontaktwiderstand: |
<20 Milliohm bei 2-4 V DC, 100 mA |
| Elektrische Lebensdauer: |
Getestet auf 60.000 Schließzyklen bei Volllast |
| Schaltbild: |
|
| Mehrfachkontaktschalter verfügbar |

Abmessungen = mm
Ausgangspositionsschalter der Serie S19000
|
| Hub |
DIM "A" Ausgefahren
|
DIM "B" Zurückgezogen
|
13
|
35,17
|
21,37
|
18
|
45,77
|
26,67
|
25
|
59,77
|
33,67
|
31
|
k.A. - An Kundendienst wenden
|
Näherungssensor für Hubende
Haydon bietet einen Hall-Effekt-Sensor, der die Endposition von Can-Stack- und linearen Hybrid-Aktuatoren überwachen kann. Der Sensor verfügt über ein Hall-Effekt-Element, das durch einen Seltenerdmagnet am Ende der inneren Spindel aktiviert wird. Die kompakte Größe des Sensors ermöglicht die Installation in Applikationen mit begrenztem Platzangebot. Der Sensor hat praktisch unbegrenzte Lebensdauer. Spezielle Kabel und Anschlüsse können zur Verfügung gestellt werden.
Der Näherungssensor für Hubende von Haydon und alle Produkte von Haydon Kerk Motion Solutions werden von einem Technikerteam unterstützt, das umfassenden Kundendienst und Applikationsunterstützung bietet.
Technische Daten:
| Versorgungsspannung (VDC): |
3,8 min. bis 24 max. |
| Stromaufnahme: |
10 mA max. |
| Ausgangsspannung (bei Betrieb) |
0,15 typ., 0,40 max.; Sink-Strom 20 mA max. |
| Ausgangsstrom |
20 mA max. |
| Ausgangsleckstrom (freigegeben) |
10 µA max. bei Vaus = 24 VDC; Vcc = 24 VDC |
| Ausgangsschaltzeit |
| Steigend, 10 bis 90%: 0,05 µs typ., 1,5 µs max. bei Vcc = 12 V, RL = 1,6 KOhm |
Fallend, 90 bis 10%: 0,15 µs typ., 1,5 µs max. bei CL = 20 pF |
| Temperatur |
-40 bis 150 °C |
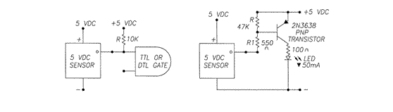
Vorgeschlagenes Schnittstellendiagramm
Hinweis: Sensor gehört zur Kategorie 2 ESD-empfindlich gemäß DOD-STD-1686A. Montagearbeiten sollten an Arbeitsplätzen mit leitfähigen Oberteilen und geerdeten Personen durchgeführt werden.
BITTE BEACHTEN SIE, DASS EIN PULLUP-WIDERSTAND NOTWENDIG IST, DAMIT DER SENSOR RICHTIG FUNKTIONIERT.

Abmessungen = mm
Der Sensor hat praktisch unbegrenzte Lebensdauer. Spezielle Kabel und Anschlüsse können ebenfalls zur Verfügung gestellt werden
Bitte beachten Sie: Metriknummern dienen nur als Referenz.